


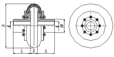
|
型號
|
公稱轉(zhuǎn)矩 Tn N.m
|
許用轉(zhuǎn)速(n) r/min
|
軸孔直徑 d1,d2
|
軸孔長度
|
尺寸 mm
|
螺栓
|
||
|
D
|
D1
|
S
|
||||||
|
LA1
|
10
|
5000
|
6-11
|
16-25
|
60
|
20
|
4
|
12-M4*10
|
|
LA2
|
20
|
5000
|
8-19
|
14-42
|
100
|
36
|
8
|
12-M6*20
|
|
LA3
|
80
|
4000
|
18-28
|
30-62
|
135
|
48
|
12
|
12-M8*25
|
|
LA4
|
160
|
3150
|
25-38
|
44-82
|
180
|
64
|
18
|
12-M10*30
|
|
LA5
|
315
|
2800
|
32-50
|
60-112
|
210
|
80
|
18
|
16-M10*40
|
|
LA6
|
630
|
2500
|
40-56
|
84-112
|
265
|
100
|
24
|
16-M12*40
|
|
LA7
|
1250
|
2000
|
48-75
|
84-142
|
310
|
120
|
28
|
16-M16*50
|
|
LA8
|
2500
|
1600
|
60-95
|
107-172
|
400
|
150
|
38
|
16-M20*60
|
|
LA9
|
5000
|
1250
|
80-125
|
132-212
|
450
|
190
|
42
|
20-M20*70
|
|
LA10
|
10000
|
1000
|
100-150
|
167-252
|
550
|
230
|
52
|
24-M24*80
|
|
LA11
|
20000
|
800
|
138-180
|
202-302
|
700
|
280
|
70
|
32-M30*90
|